| Sign In | Join Free | My bushorchimp.com |
|
Place of Origin : China
Brand Name : CWJ
Certification : ISO9001
Price : Negotiation
Packaging Details : Wooden case or with outer carton, or as per customers' specific requirements.
Payment Terms : T/T; L/C
Supply Ability : 20 Piece/Pieces per month
Model Number : WTA
MOQ : 10PCS
Delivery Time : 25-35 work days
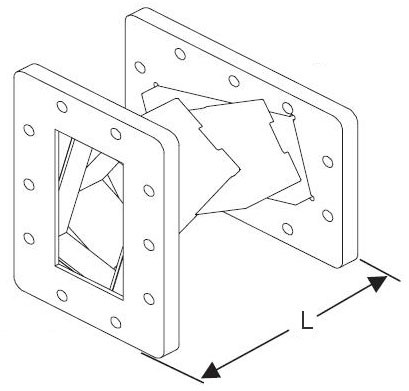
CWJ offers stepped waveguide twist covering waveguide sizes WR10 thru WR430. Twist angle, twist direction and flange types can be custom made as per customer's specific requirements.

|
|
WR10 thru WR430 1.15VSWR 90 Degree Stepped Waveguide Twist Images |